완전 자동 수직 팔레트 달아서 기계
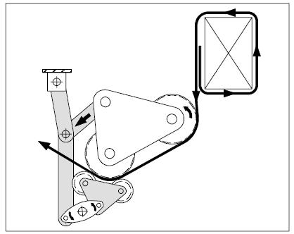
수직 달아서 기계의 주요 구성 요소
1. 두 개의 기둥과 크로스 빔, 수직 캐리지 가이드 및 체인이 있는 기본 기계 프레임
2. 캐리지 가이드 시스템이 있는 두 열 사이에서 이동 가능한 랙 모듈
삼. 기어드 브레이크 모터가 있는 캐리지 드라이브
4. 홈이 파인 알루미늄 프로파일로 제작되고 기계 프레임에 고정되는 스트랩 트랙(슈트) 프레임,
모든 높이에서 스트랩 공급을 허용하는 스프링이 장착된 짧은 플랩
5. 랜스 시스템, 팔레트 보이드를 통해 스트랩 적용, 섹션 높이 80mm
6. 스트랩 장력 이퀄라이저가 있는 스트랩 헤드에 연결
7. 제어 패널에 의한 수직 결속기 취급, Cyklop 터치패널 크기 7"에 의해 표시되는 기계 상태, 컬러 디스플레이.
기술 데이터 자동 수직 팔레트 달아서 기계
1. 전원 공급 장치: 3/ n, pe, (중성선 = 부하 능력)
2. 제어 전압: 24V DC
3. 파워 스코어: 최대 three.zero kw
4. 장치의 전체 무게: 약. 800~1,000kg
5. 주변 온도 제한: + 5°C ~ + 35°C
6. 컨베이어 시스템의 피크: 피나클 사이드 롤러 / 체인 컨베이어 기계 min. 최대 180mm. 800mm

의 기술 데이터 완전 자동 수직 팔레트 달아서 기계
KA5 |
||
스트랩 품질 및 너비 |
||
애완 동물 |
9,0 - 18,5mm |
|
PP |
/ |
|
스트랩 코일 |
||
코어 직경 |
406mm |
|
외경 |
600mm |
|
너비 |
150mm |
|
루프 수 |
7 |
|
스트랩 보관 |
15m |
|
스트랩 인출력 |
저것. 5N |
|
작동 순서 :
1. 패키지는 스트래핑 위치로 중앙 집중식으로 운반됩니다.
2. 고객의 제어 시스템에서 수직 결속기로 무전압 신호가 제공됩니다.
삼. 랜스 시스템을 전진시켜 스트랩 트랙(슈트) 프레임을 닫습니다.
4. 스트래핑 헤드가 있는 랙 모듈이 패키지 표면에서 아래쪽으로 이동합니다. 그만큼 스트랩은 트랙 주위에 공급됩니다.
5. 스트래핑 주기가 시작됩니다. 스트랩을 뒤로 당기고, 장력을 가하고, 밀봉하고, 잘라냅니다. 랜스 시스템을 뒤로 이동하여 스트랩 트랙(슈트) 프레임을 엽니다. 스트래핑 헤드가 있는 랙 모듈이 베이스 위치로 다시 이동합니다.
그렇다면 패키지를 다음 결속 위치로 운반하고 결속 절차를 반복하십시오.
프로그램을 완료한 후 기계는 무전압 신호를 컨베이어 제어 시스템으로 다시 전송하여 기계 밖으로 적재물을 운반합니다.
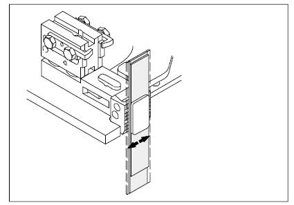
달아서 머리의 주요 구성 요소
1 장력 단위
2 실러 카세트
3 플러그
4 텐션 기어
5 락킹바
6 텐션 휠
장력 장치와 피드백 풀백 드라이브가 스트랩을 조입니다. 장력이 증가하면 로킹 바(레버)가 올라갑니다.
링크와 압력 레버는 텐션 휠을 압축합니다. 높은 장력은 장력 클러치에 의해서만 적용됩니다.
적절한 용접을 보장하는 온도에 도달할 때까지 스트랩 끝을 누르고 서로 문지릅니다.
제어판:
위치: 5m 케이블 세트 길이 내에서 자유롭게 선택
치수: 키: 1.060mm, 캐비닛 베이스 포함 1,060
너비: 600mm
깊이: 480mm
규정: VDE 0100/0113, EN 60204, 보호 등급 IP 54에 따름
무전압 신호로 Cyklop 제어 시스템과 인터페이스
PLC: 지멘스 S7
터치패널로 표시되는 기계의 상태
스트래핑 헤드 CF H1 의 일반 데이터 :
기술 데이터
1. 스트랩 품질: 애완 동물
2. 스트랩 폭:12,0 mm ~ 19 mm
삼. 스트랩 두께: > 0,58mm ~ 1,12mm
4. 스트랩 이송 및 테이크업 속도: 2,9m/초
5. 밀봉 유형: 마찰 용접
6. 밀봉 시간: 약. 1.5초 2초까지 (스트랩과 장력에 따라 다름)
7. 인장력: 200 ~ 5.500(밀봉 시간 다단계 인장 횟수:
8. 패키지 폭: 80mm
9. 스트랩 중앙 비대칭 35mm / 237mm
10. 전원 공급 장치: 3/ N, PE, (중성선 = 적재 용량)
11. 전력 등급 : 1.0kW
12. 제어 전압: :24V DC
13. 무게: 79kg
14. 회화: RAL 7035
자세한 내용은 언제든지 저희에게 문의하십시오.
전쟁
WhatsApp:+86 15634865861








